|
Vítejte,
host
|
Téma:
R 13 roků 5 měsíců zpět #1252
|
Prosím Přihlásit se nebo Vytvořit účet připojte se ke konverzaci. |
Moderátoři: Mirek
Vygenerováno za 0.539 sekund
|
Vítejte,
host
|
|
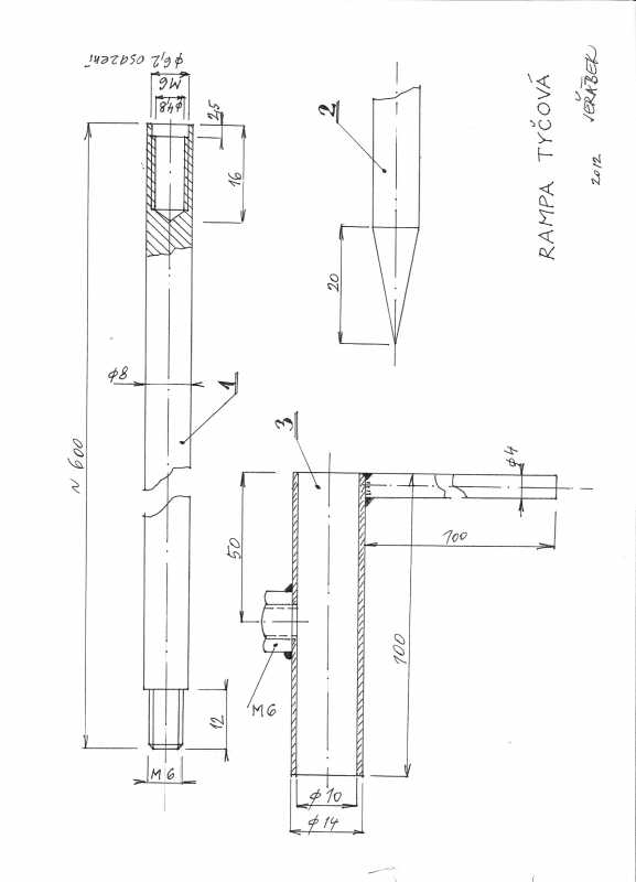
Rampa tyčová. Tuto rampu o průměru 8 mm jsem si vyrobil před 40 lety na starty bodovacích maket S7 a používám ji dodnes, protože se právě na naše větší modely hodí. Podobnou už popisoval Mirek, přednost je v tom, že se dá složit do malého balíčku, když jednotlivé díly svážeme do svazku. Přikládám výkres, podle kterého se dá vyrobit a nemusíte nic vymýšlet. Základem je ocelová kulatina nejlépe jakosti 11500 o průměru 8 mm / né drát do betonu !!! / dá se koupit v každé prodejně hutního materiálu, mají délku 3 metry což je pro náš případ nejvhodnější. Nařežeme z toho 5 kusů po 600 mm,jak to vyjde. Podle výkresu pos. 1 vyrobíme 3 kusy, u čtvrtého uděláme špičku pos. 2 a vnitřní závit a u pátého uděláme jen vnější závit. U vnitřního závitu je nutné odvrtat do hloubky asi 3 mm průměr 6,2, aby díly na sebe pasovaly a dosedaly celou plochou čela na sebe. Pokud nesedí je nutné odvrtat do větší hloubky. Závity je nutné dělat očkem a závitníkem na soustruhu, aby byla dodržena souosost. Na podporu modelu je vhodné udělat jednoduchý přípravek dle pos. 3, který sestává jen z trubičky s vnitřním průměrem asi 10 mm, z boku přivařit matici M6 a drát o průměru 4 mm ,na který se model postaví. Na utažení se dá v Kovomatě koupit šroub s křídlovou plochou, jsou pozinkované nebo bakelitové s mosazným závitem. Když zapichuji rampu do země, použiji jen dva díly, ostatní po vyrovnání do svislé osy. Po použití je dobré rampu očistit a mírně potřít olejem. Přeji pěkné starty.
Poděkovali: Koudy
|
|
|
Prosím Přihlásit se nebo Vytvořit účet připojte se ke konverzaci. |
Pokud nezměníte nastavení prohlížeče, budete souhlasit.

Copyright © 2011 4MiO. Všechna práva vyhrazena licencí Creative Commons.
Joomla! je svobodný software vydaný pod licencí GNU General Public License.